ISO-CeFiX flanges, US
Unlike the CF system, where a knife edge creates a circular imprint that can shift upon reuse and cause vacuum leaks, CeFiX® uses a particle-free area-pressing mechanism. This design allows the seals to be reused and eliminates the leakage issues caused by the CF system's deep groove imprints. The wider overlapping area, with a 200 to 400µm cross-section, enhances thermocycling capability, handling temperatures from -271°C to +450°C conditions that typically compromise the CF knife edge after one cycle.

The CeFiX® system’s robust EUHV connection (<10E-11 mbar, <1 nPa) can withstand overpressures up to 300 bar when used with TÜV-approved chain clamps. Hard nickel seals, which resist CF knife edge penetration, are easily compressed with CeFiX®’s gear-type force-multiplying chain clamps. This technology requires only 50% of the CF system's compression force at the seal surface while ensuring gas-tight intermetallic diffusion bonds.
產品詳細資料
Applications
 
- UHV applications up to 10E-11 mbar
- Pressurised applications up to 300 bar
- Cryo applications down to -270 degC
- Oven applications up to 300 degC (copper seals)
- CeFiX® system registered by EVAC
- Flange seals reusable up to 10 times (provided no scratches)
- 316L stainless steel for nuclear and military applications
- Helium leak test notches provided
 
 
 
EVAC ISO-CeFiX® flanges, US
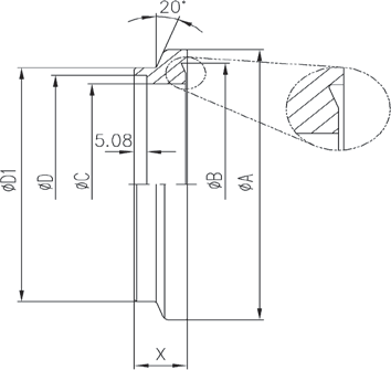
NW A B C D D1 X
63 96.01 82.55 60.45 63.75 76.20 21.08
100 134.11 120.65 98.04 101.85 117.09 21.08
160 189.99 171.45 148.08 152.91 167.89 21.08
200 242.06 222.25 198.12 203.71 217.93 24.89
250 291.85 273.05 246.13 254.51 270 29.97
 
 
Type NW SUS 316L
63 32.063005.537.306
100 32.100005.537.310
160 32.160005.537.316
200 32.200005.537.320
250 32.250005.537.325